
PDF Publication Title:
Text from PDF Page: 019
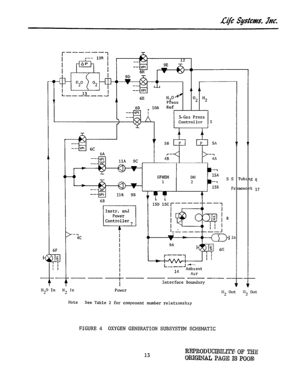
NO2In N. In Note Power PEI I2 Out 0I Out >- c c [ nme reatonhi 9A 6C 6A --I 1B 9B 6B Power Controller7 IFU L- L 15D 15Cr- 9D; 6H 6E H0 6D 10A Ref PII i 0^2 11 3.G-as Press 11A 9C --.. 4A-. IS1 See Table 2 for component number relationship -- Controller 3 FIGURE 4 OXYGEN GENERATION SUBSYSTEM SCHEMATIC SFWEM D1 S S Tubi Ig Fr mework 17 Interac Boudar OD 13 Ambient Interface Boundary CI 13 REPRODUCIBILITY OF THE 13 ORIGINAL PAGE IS P00OR L/c SystCms, Ige. [ tPDF Image | STATIC FEED WATER ELECTROLYSIS PROCESS
PDF Search Title:
STATIC FEED WATER ELECTROLYSIS PROCESSOriginal File Name Searched:
19770011797.pdfDIY PDF Search: Google It | Yahoo | Bing
Salgenx Redox Flow Battery Technology: Power up your energy storage game with Salgenx Salt Water Battery. With its advanced technology, the flow battery provides reliable, scalable, and sustainable energy storage for utility-scale projects. Upgrade to a Salgenx flow battery today and take control of your energy future.
| CONTACT TEL: 608-238-6001 Email: greg@salgenx.com | RSS | AMP |