
PDF Publication Title:
Text from PDF Page: 022
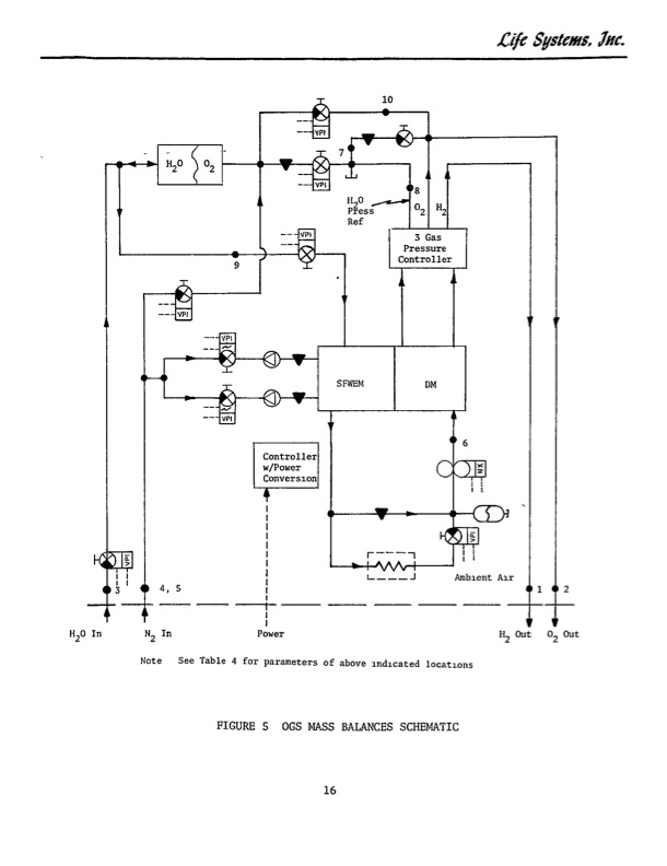
H20 In N2 In Note See Table 4 for parameters ofg above ndiLcated locatons FIGURE 5 0GS MASS BALANCES SCHEMATIC 16 02 ut '_4 4, 5 '1I H2 Out ! l l Ambient Air 97 Power -- 3 Gas Conontroller ConLeontonller w/ H7C Li/c systems, Akc.PDF Image | STATIC FEED WATER ELECTROLYSIS PROCESS
PDF Search Title:
STATIC FEED WATER ELECTROLYSIS PROCESSOriginal File Name Searched:
19770011797.pdfDIY PDF Search: Google It | Yahoo | Bing
Salgenx Redox Flow Battery Technology: Power up your energy storage game with Salgenx Salt Water Battery. With its advanced technology, the flow battery provides reliable, scalable, and sustainable energy storage for utility-scale projects. Upgrade to a Salgenx flow battery today and take control of your energy future.
| CONTACT TEL: 608-238-6001 Email: greg@salgenx.com | RSS | AMP |