
PDF Publication Title:
Text from PDF Page: 043
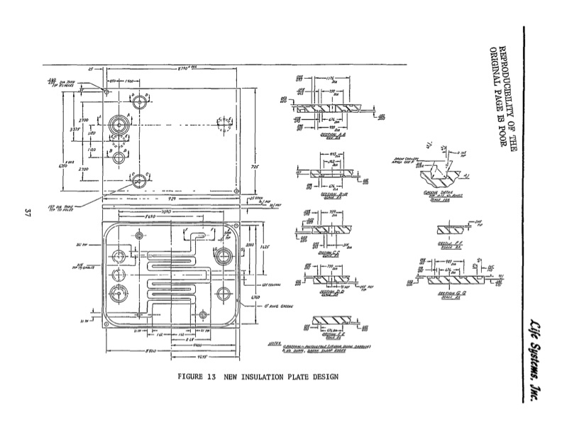
100 27 71 /fOl~n0 (A ______~_____"_~i/ 351 sr %A - M"A 57 50 "All/ 2X &0C, A '0yC2 /sif - 2 imaCI" v59 FIGURE NEWCINUAIO L-3TEDSG -I. IN ALag I AgPDF Image | STATIC FEED WATER ELECTROLYSIS PROCESS
PDF Search Title:
STATIC FEED WATER ELECTROLYSIS PROCESSOriginal File Name Searched:
19770011797.pdfDIY PDF Search: Google It | Yahoo | Bing
Salgenx Redox Flow Battery Technology: Power up your energy storage game with Salgenx Salt Water Battery. With its advanced technology, the flow battery provides reliable, scalable, and sustainable energy storage for utility-scale projects. Upgrade to a Salgenx flow battery today and take control of your energy future.
| CONTACT TEL: 608-238-6001 Email: greg@salgenx.com | RSS | AMP |