
PDF Publication Title:
Text from PDF Page: 031
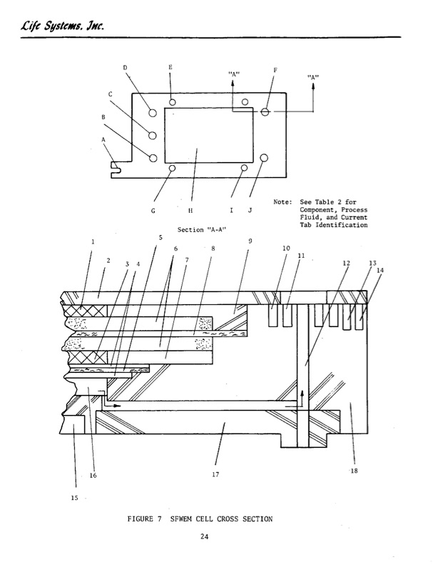
15 16 17 18 FIGURE 7 SFWEM CELL CROSS SECTION 24 DEF G H I J Note: SeeTable2for Component, Process Fluid, and Current Tab Identification Section "A-A" S9 6 8 10 234 7 1213 O 11PDF Image | WATER ELECTROLYSIS MODULE
PDF Search Title:
WATER ELECTROLYSIS MODULEOriginal File Name Searched:
19750012429.pdfDIY PDF Search: Google It | Yahoo | Bing
Salgenx Redox Flow Battery Technology: Power up your energy storage game with Salgenx Salt Water Battery. With its advanced technology, the flow battery provides reliable, scalable, and sustainable energy storage for utility-scale projects. Upgrade to a Salgenx flow battery today and take control of your energy future.
| CONTACT TEL: 608-238-6001 Email: greg@salgenx.com | RSS | AMP |