
PDF Publication Title:
Text from PDF Page: 084
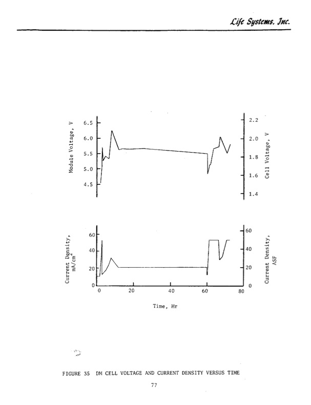
> 6.5 - 2.2 c 6.0 - - 2.0 ob 5.54 o 5.0 4.5 60 ( 40 4i 420 -c2 20 1.8 1.6 1.4 - 60 40 20 0 o0III0u 0 20 40 60 80 Time, Hr FIGURE35 DMCELLVOLTAGEANDCURRENTDENSITYVERSUSTIME 77 £i Systcms, Inc.PDF Image | WATER ELECTROLYSIS MODULE
PDF Search Title:
WATER ELECTROLYSIS MODULEOriginal File Name Searched:
19750012429.pdfDIY PDF Search: Google It | Yahoo | Bing
Salgenx Redox Flow Battery Technology: Power up your energy storage game with Salgenx Salt Water Battery. With its advanced technology, the flow battery provides reliable, scalable, and sustainable energy storage for utility-scale projects. Upgrade to a Salgenx flow battery today and take control of your energy future.
| CONTACT TEL: 608-238-6001 Email: greg@salgenx.com | RSS | AMP |