logo

WATER ELECTROLYSIS SYSTEM REFURBISHMENT

PDF Publication Title:

WATER ELECTROLYSIS SYSTEM REFURBISHMENT ( water-electrolysis-system-refurbishment )

Previous Page View | Next Page View | Return to Search List

Text from PDF Page: 024

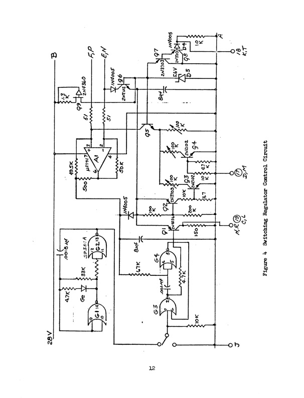
Cv 12 43 c.) f-X 0 ci) I0, 42 4 r4z

PDF Image | WATER ELECTROLYSIS SYSTEM REFURBISHMENT

water-electrolysis-system-refurbishment-024

PDF Search Title:

WATER ELECTROLYSIS SYSTEM REFURBISHMENT

Original File Name Searched:

19730006433.pdf

DIY PDF Search: Google It | Yahoo | Bing

Salgenx Redox Flow Battery Technology: Power up your energy storage game with Salgenx Salt Water Battery. With its advanced technology, the flow battery provides reliable, scalable, and sustainable energy storage for utility-scale projects. Upgrade to a Salgenx flow battery today and take control of your energy future.

CONTACT TEL: 608-238-6001 Email: greg@salgenx.com | RSS | AMP