logo

WATER ELECTROLYSIS SYSTEM REFURBISHMENT

PDF Publication Title:

WATER ELECTROLYSIS SYSTEM REFURBISHMENT ( water-electrolysis-system-refurbishment )

Previous Page View | Next Page View | Return to Search List

Text from PDF Page: 045

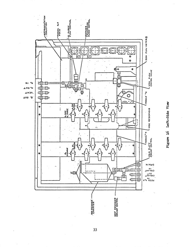
NI 'N .LAlO 'I- .L, 3A. .LnO o- ̧o us.l i,,J W- ~Wa Us ZM u't LIZ 2-C 5~~z' 33 *r4 U) as I 'el

PDF Image | WATER ELECTROLYSIS SYSTEM REFURBISHMENT

water-electrolysis-system-refurbishment-045

PDF Search Title:

WATER ELECTROLYSIS SYSTEM REFURBISHMENT

Original File Name Searched:

19730006433.pdf

DIY PDF Search: Google It | Yahoo | Bing

Salgenx Redox Flow Battery Technology: Power up your energy storage game with Salgenx Salt Water Battery. With its advanced technology, the flow battery provides reliable, scalable, and sustainable energy storage for utility-scale projects. Upgrade to a Salgenx flow battery today and take control of your energy future.

CONTACT TEL: 608-238-6001 Email: greg@salgenx.com | RSS | AMP